发布时间:2022-01-10 17:38:34
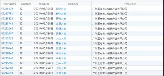
21年6月份广州王老吉申请 新婚大吉、订婚大吉、开工大吉、新年大吉、生日大吉、升职大吉、乔迁大吉等商标,继“百家姓”之后再次展示了其独特的商标申请思路。




目前这些标都怎么样了呢?
小编认为,王老吉之所以要把“大吉”系列、“百家姓”系列都注册一遍是为了配合“吉运罐”把祝福语印在罐上使用。汲取之前失败经验,避免抢注。走“山寨”的路,让“山寨”无路可走。大量注册商标,也是品牌发展中重要的一环,并以此来维护品牌的权益。
一个好的商标名字,能够帮助企业扩大知名度和影响力,甚至有可能决定着企业的长远发展。但是,并不是所有的名称都可以作为商标注册使用。商标取名时应具有显著性,不可盲目注册。
商标,是一个品牌长久以来的文化和品质积淀,是一个企业市场竞争的核心竞争力。所以无论是在商标保护还是在打假维权方面,企业都要给与足够的重视。